20 Ft Iso Tank Container Capacity

20ft Iso Tank Meeberg Iso Tanks Containers

20ft Iso Tank Meeberg Iso Tanks Containers

Specification

Specification

20 Iso Tank Container Chemicals Mc Containers

20 Iso Tank Container Chemicals Mc Containers

Exsif Tank Container Leasing Liquid Transportation

Exsif Tank Container Leasing Liquid Transportation

Iso Tanks Containers Imo 5 For Gases Propane Butan Lpg T A Gascon 20 Ft 22 500 Litres Year 2006

Iso Tanks Containers Imo 5 For Gases Propane Butan Lpg T A Gascon 20 Ft 22 500 Litres Year 2006

Shipping Container Dimensions Complete Guide For Australia

Shipping Container Dimensions Complete Guide For Australia

Shipping Container Dimensions Complete Guide For Australia

Suitable for oils plasticers resins natural or synthetic latex milk still beers wine mineral water.

20 ft iso tank container capacity. All tanks are of the highest quality design and construction and conform strictly to the latest international approvals. 20ft iso tank un portable t11 25cbm chemical or foodstuff 20ft iso tank un portable t11 25cbm chemical or foodstuff danteco offers t11 24 25 26 000 litre iso tank containers. Suitable for hazardous substances as toxic corrosive highly flammable liquids. An iso tank is a tank container which is built to the iso standard international organisation for standardisation.

A tank container is built to the iso standards making it suitable for different modes of transportation both hazardous and non hazardous products can be transported in tank containers. The tank is made of stainless steel and is surrounded by various types of protective layers. The iso rules describe the characteristics of the container e g. 17 500 26 000 liters 5 300 6 600 gallons.

Chemical iso tank container. High cube general purpose container iso size type code. 20 foot iso framework type tank container is applicable to marine transportation and multimodal highway and railway transportation. A tank container is a vessel of stainless steel surrounded by an insulation and protective layer of usually polyurethane and aluminum the vessel is in the middle of a steel frame.

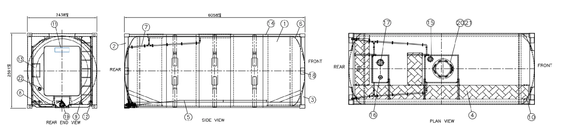
Specification a cylindrical pressure vessel surrounded by a 20 x 8 x 8 5 framework the overall international standard dimensions of a container for the transport of hazardous and non hazardous liquids in bulk. Standardised in iso 668. Tank container 20 49. About the 20ft iso tank.

Tolerances length width height mm ft mm ft mm ft maximum difference 10 3 8 10 3 8 10 3 8. Length 6058 mm 20 ft width 2438 mm 8 ft height 2591 8 ft 6 in 1 6 tank. Iso container tank. Iso standard 1496 3 1 2 iso type 1cc 22t6 1 3 imo type 1 si us 1 4 nominal capacity 0 1 tolerance 24 000 6340 us gal 1 5 frame dimensions and weight max gross weight 36 000kg 79366 lb.

Iso container simplify the national and international transport and shorten the shipping time. Austenitic stainless steel 304l 316l for inner vessel and outer jacket vacuum insulated. Iso tank container details. Frame in accordance with.

The measurements or the transport capacity. Iso containers are standardised containers which are also called teu twenty foot equivalent unit. Iso tanks are designed to carry liquids in bulk both hazardous and non hazardous. 20 foot iso tank container imo.

The reason for this are the.

20 Foot Iso Tank Container

20 Foot Iso Tank Container

Iso Tank Containers Usage Components And Safety Updated

Iso Tank Containers Usage Components And Safety Updated

40ft 20ft Liquid Gas Storage Iso Tank Container For Sale Cheap Price China Truck Manufacturers Com

40ft 20ft Liquid Gas Storage Iso Tank Container For Sale Cheap Price China Truck Manufacturers Com

China Rubber Lined T14 20ft Iso Tank Container For Sulfuric Acid 98 China Iso Tank Container Iso Tank Container 20ft

China Rubber Lined T14 20ft Iso Tank Container For Sulfuric Acid 98 China Iso Tank Container Iso Tank Container 20ft

T75 T50 20ft Lpg Lng Cng Lo2 Ln2 Co2 Chlorine Cooking Gas Iso Tank Container Buy Cryogenic Container Cryogenic Container Storage Tank Tank Container Product On Alibaba Com

T75 T50 20ft Lpg Lng Cng Lo2 Ln2 Co2 Chlorine Cooking Gas Iso Tank Container Buy Cryogenic Container Cryogenic Container Storage Tank Tank Container Product On Alibaba Com

China 20ft Iso Tank Container 20ft Carbon Disulfide Tank Container China 20ft Iso Tank Container 20ft Carbon Disulfide Tank Container

China 20ft Iso Tank Container 20ft Carbon Disulfide Tank Container China 20ft Iso Tank Container 20ft Carbon Disulfide Tank Container

China Bulk 22 500 Litre Loading Capacity 20ft Iso Cement Tank Container China Cement Tank Container 20ft Iso Cement Tank

China Bulk 22 500 Litre Loading Capacity 20ft Iso Cement Tank Container China Cement Tank Container 20ft Iso Cement Tank

Tank Container Specifications

Tank Container Specifications

Iso Tank Container Chassisking Com

Iso Tank Container Chassisking Com

20ft Pressure Tank Container For Liquid Ammonia Un1005 Liquid Nh3 Isotank Ammonia Anhydrous Road For Sale Cheap Price China Truck Manufacturers Com Mobile Site

20ft Pressure Tank Container For Liquid Ammonia Un1005 Liquid Nh3 Isotank Ammonia Anhydrous Road For Sale Cheap Price China Truck Manufacturers Com Mobile Site

20ft Standard Iso Oil Storage Tank 40ft Iso Fuel Tanker Container

20ft Standard Iso Oil Storage Tank 40ft Iso Fuel Tanker Container

Lr Certified Asme Standard New 20 Feet Iso Tank Container For Sulfuric Acid 98 Tank Container View 20 Feet Iso Tank Container For Sulfuric Acid Ace Product Details From Ace Container

Lr Certified Asme Standard New 20 Feet Iso Tank Container For Sulfuric Acid 98 Tank Container View 20 Feet Iso Tank Container For Sulfuric Acid Ace Product Details From Ace Container

Insulated Liquid Tank Container Horizontal 20ft Iso Tank Container

Insulated Liquid Tank Container Horizontal 20ft Iso Tank Container

Iso Tanks Containers Imo 0 Wine Fruit Juices Vegetable Oils Mineral Oils Non Hazardous Oils 20 Ft Mtk 70 24 M Year 1998

Iso Tanks Containers Imo 0 Wine Fruit Juices Vegetable Oils Mineral Oils Non Hazardous Oils 20 Ft Mtk 70 24 M Year 1998

Source : pinterest.com